• 1
  • 2
  • 3
  • 4
  • 5
阿里云主机ECS 首 页  »  帮助中心  »  云服务器  »  阿里云主机ECS
阿里云ECS自动续费功能说明
发布日期:2015-12-2 10:12:15

  阿里云ECS自动续费功能说明

  一、什么是ECS自动续费功能?

  ECS自动续费即对于已购买包年包月ECS且有自动续费需求的用户,在云服务器快到期前,进行自动续费,同时也减少用户人工续费的成本。

  二、自动付费面向的服务器是什么?

  到期时间在7天外的包月保有云服务器。

  三、如何使用ECS自动续费功能?

  (一)自动续费的设置

  1、单服务器设置:

  登录用户中心-我的服务-续费管理,云服务器页面

  (链接https://buy.aliyun.com/renew/ecs)


  选择需要开通自动续费功能的服务器


  点击“开通自动续费”弹出自动续费设定对话框,选择续费周期


  点击“开通自动续费”


  自动续费设置成功


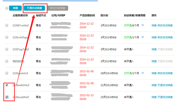
  2、批量设置:

  登录用户中心-我的服务-续费管理,云服务器页面


  勾选需要开通的服务器,点击“开通自动续费”


  选择续费周期(批量操作中续费周期对所有批量设置的服务器有效)


  点击“开通自动续费”


  自动续费设置成功


  (二)自动续费周期的修改

  1、单服务器设置

  登录用户中心-我的服务-续费管理,云服务器页面


  选择需要修改自动续费周期的服务器


  点击“修改自动续费”,修改续费周期


  点击确定,设置成功


  2、批量设置:

  登录用户中心-我的服务-续费管理,云服务器页面


  勾选需要修改续费周期的服务器,点击“修改自动续费”


  进入自动续费设定,修改续费周期




  (三)查看自动续费

  登录用户中心-我的服务-续费管理,云服务器页面


  鼠标置于开通自动续费功能的气泡框,出现自动续费金额和下次自动续费时间提示框


  (四)取消自动续费

  登录用户中心-我的服务-续费管理,云服务器页面


  选择需要取消自动续费功能的服务器,点击修改自动续费


  进入自动续费设定弹框,选择取消自动续费

  点击确定,取消成功


  四、自动续费温馨提示

  1) 设置成功后,系统自动以此为续费周期,请保持余额充足,目前自动续费支持1个月、3个月、6个月、9个月、12个月。设置后以用户服务器到期日计算第一次自动续费日期和周期,如服务器到期时间为2014年3月31日,用户在2014年2月14日设置自动续费周期为6个月,则第一次自动续费时间为到期前第七天:2014年3月24日 08:00:00 ,第二次为2014年9月24日 08:00:00

  2) 自动续费扣款日为服务器到期前第7天的08:00:00

  3) 如在自动续费前进行人工续费,则该周期不进行自动续费操作

  4)服务到期前10天发送扣款提醒短信,“尊敬的用户:您设置阿里云服务器自动续费将于*年月*日 08:00执行操作,请保持账户余额充足。”